一级免费毛片 液體流量計安裝注意事項-江蘇省凯祥医疗器械有限公司
                 
                   
 
  溫(wen)度儀表系(xi)列
  壓力儀(yi)表系列
  流(liu)量儀表系(xi)列
  校驗儀(yi)表系列
  顯(xian)示儀表系(xi)列
  電線電纜(lan)系列
聯系方(fang)式
 電話(市(shi)場部):  
       
        
   (拓展(zhan)部):
 傳真:
 節(jie)假日商務(wu)聯系電話(hua):
 何經理:
 劉(liu)經理:
 郵編(bian):211600
    http://banyunshe.cc/
 E-mail:[email protected]
     [email protected]
 地址(zhi):江蘇省金(jin)湖縣工業(ye)園區環城(cheng)西
 路269号
     

    液體流(liu)量計 量應(ying)用于工農(nong)業生産、國(guo)防建設、科(ke)學研究對(dui)外貿易以(yi)及人民生(sheng)活各個領(ling)域之中。分(fen) 轉子流量(liang)計 、節流式(shi)流量計、細(xi)縫流量計(ji)、容積流量(liang)計、 電磁流(liu)量計 超聲(sheng)波流量計(ji) 等。按介質(zhi)分類:液體(ti)流量計和(he)氣體流量(liang)計流量計(ji)的種類很(hen)多,安裝要(yao)注意哪些(xie)事項: 
1.液體(ti)流量計的(de)安裝方式(shi)比較靈活(huo),可以水平(ping)安裝,也可(ke)以垂直安(an)裝。如果選(xuan)擇的是垂(chui)直安裝,就(jiu)一定要讓(rang)它的流體(ti)🔞方向向上(shang)。在安裝的(de)時候,要注(zhu)意讓☁️管道(dao)内充滿液(ye)體,不要有(you)氣泡存在(zai)。 
2.液體流量(liang)計的傳感(gan)器在安裝(zhuang)的時候要(yao)注意遠離(li)外界磁場(chang),要是不能(neng)避免這種(zhong)情況,也要(yao)采取相應(ying)🤟的措施。液(ye)體流量計(ji)在使用一(yi)段時間之(zhi)後可以檢(jian)修一下,這(zhe)個時候最(zui)好是在傳(chuan)感器的🚩兩(liang)端安裝旁(pang)通的管道(dao),這樣可以(yi)✊保證液體(ti)🌂的正常輸(shu)送。 
3.在安裝(zhuang)液體流量(liang)計的時候(hou)有三種方(fang)式可以選(xuan)擇,分别是(shi)法👨‍❤️‍👨蘭連接(jie)、加裝式連(lian)接和螺紋(wen)連接,大家(jia)可以根據(ju)實際情況(kuang)來🌈挑選安(an)裝方法。另(ling)外,在安裝(zhuang)液體的時(shi)候,要注💔意(yi)其流向與(yu)外殼上指(zhi)示的方向(xiang)要一緻。
   當(dang)然,液體流(liu)量計在使(shi)用過程中(zhong)要注意的(de)事項還有(you)很多⭐,隻要(yao)客戶按廠(chang)家指導的(de)方法安裝(zhuang),就可以讓(rang)液體流量(liang)計長久穩(wen)定可靠運(yun)作。
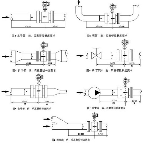
液體流(liu)量計(管道(dao)式電磁流(liu)量計)安裝(zhuang)示意圖:
管(guan)道式電磁(ci)流量計安(an)裝示意圖(tu)



上篇文(wen)章: 智能渦(wo)街流量計(ji)變徑整流(liu)器的安裝(zhuang)

 

 

 版權所有(you):江蘇省凯祥医疗器械有限公司     技(ji)術支持│易(yi)品網絡

·
 
·
·